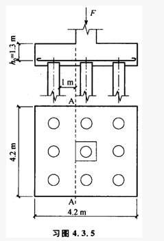
如习图4.3.5所示,竖向荷载设计值F=24000kN,承台混凝土为C40(f=1.71MPa),按《建筑桩基技术规范》(JGJ94-2008)验算柱边A-A至桩边连线形成的斜截面的抗剪承载力与剪切力之比(抗力V)最接近()。

A . 1.0
B . 1.2
C . 1.3
D . 1.4
[单选题,案例分析题] 柱下桩基如习图4.3.4所示,承台混凝土抗压设计强度f=1.71MPa。按《桩基规范》计算承台长边受剪承载力,其值与()最接近。()A . 6.5MNB . 8.5MNC . 10.5MND . 12.5MN
[单选题]如下图所示,竖向荷载设计值F=24000kN,承台混凝土为C40(ft=71MPa),按《建筑桩基技术规范》(JGJ 94—2008)验算柱边A—AZ
[单选题]某柱下钢筋混凝土承台,承台采用C40混凝土,混凝土保护层厚度取100mm,柱及承台相关尺寸如图5-31所示。已知柱为方柱,承台居中心,柱相应于荷载效应
[单选题]某柱下钢筋混凝土承台,承台采用C40混凝土,混凝土保护层厚度取100mm,柱及承台相关尺寸如图5-31所示。已知柱为方柱,承台居中心,柱相应于荷载效应
[单选题]如图4-8-12所示,柱底轴向荷载F=26500kN,重要性系数γ0=1,承台采用C35混凝土(轴心抗拉设计值为=57MPa)。根据《建筑桩基技术规范
[问答题] 试验算图2中承受静力荷载的拉弯构件。作用力设计值如l到2所示,钢材为Q235(f=215N/mm2),构件截面无削弱。截面为轧制工字钢145a,A=102cm2,Wx=1430cm。截面塑性发展系数。计算的弯矩最大值为l29kN/m。
[问答题] 图1所示支架,支柱的压力设计值N=1600kN,柱两端铰接,钢材为Q235(f=215N/mm2),容许长细比[λ]=150。截面无孔眼削弱。支柱选用焊接工字形截面,已知面积A=90cm2,ix=12.13cm,iy=63.6cm。验算此支柱的整体稳定。
[单选题]已知某甲级建筑采用柱下独立桩基,竖向荷载(荷载效应基本组合)F=6200kN,弯矩M=350kN·m,作用于承台底的水平力H=500kN,承台埋深2.
[多选题] 础尺寸与荷载如习图3.2.1所示,下列选项正确的是()。A . ['计算该基础角点下土中应力时,查表系数n=z/b中,b取3mB . 计算基础底面的抵抗矩中,b取3mC . 计算地基承载力宽度修正时,b取3mD . 计算大偏心基底反力分布时,中,l取6m
[单选题]某框架柱采用桩基础,承台下5根φ600mm的钻孔灌注桩,桩长l=15m,如图4-3-6所示,承台顶处柱竖向轴力F=3840kN,My=161kN·m,