[问答题]

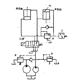
在图示的夹紧系统中,已知定位压力要求为10×105Pa,夹紧力要求为3×104N,夹紧缸无杆腔面积A1=100cm,试回答下列问题:

1)A,B,C,D各件名称,作用及其调整压力;

2)系统的工作过程。

参考答案与解析:

相关试题

在压力为5×105Pa情况下,每增加105Pa,水的体积()改变。

[单选题]在压力为5×105Pa情况下,每增加105Pa,水的体积()改变。A . 无明显B . 无C . 明显D . 较大

  • 查看答案
  • 减压阀的进口压力为40×105Pa,调定压力为60×105Pa,减压阀的出口压力

    [单选题]减压阀的进口压力为40×105Pa,调定压力为60×105Pa,减压阀的出口压力为()。A . 40×105PaB . 60×105PaC . 100×105PaD . 140×105Pa

  • 查看答案
  • 压力为9.807×105Pa、温度为30℃的空气,流经阀门时产生绝热节流作用,使压力降为6.865×105Pa,此时的温度为(  )。

    [单选题]压力为9.807×105Pa、温度为30℃的空气,流经阀门时产生绝热节流作用,使压力降为6.865×105Pa,此时的温度为(  )。A.10℃B.3

  • 查看答案
  • 压力为9.807×105Pa、温度为30℃的空气,流经阀门时产生绝热节流作用,使压力降为6.865×105Pa,此时的温度为(  )。

    [单选题]压力为9.807×105Pa、温度为30℃的空气,流经阀门时产生绝热节流作用,使压力降为6.865×105Pa,此时的温度为(  )。A.10℃B.3

  • 查看答案
  • 一般单向阀开启压力为()×105Pa。

    [单选题]一般单向阀开启压力为()×105Pa。A . 0.4B . 0.04C . 4D . 40

  • 查看答案
  • 夹紧力的作用方向应有利于工件的准确定位,一般要求主要夹紧力应()指向主要定位面。

    [填空题] 夹紧力的作用方向应有利于工件的准确定位,一般要求主要夹紧力应()指向主要定位面。

  • 查看答案
  • 夹紧中确定夹紧力大小时,为防止变形最好状况是力()。

    [单选题]夹紧中确定夹紧力大小时,为防止变形最好状况是力()。A . 尽可能的大B . 尽可能的小C . 不施加力D . 没有特殊要求

  • 查看答案
  • 夹紧力的作用方向应有利于工件的准确定位,为此一般要求主要夹紧力应()指向主要定位

    [单选题]夹紧力的作用方向应有利于工件的准确定位,为此一般要求主要夹紧力应()指向主要定位面。A .平行地B .垂直C .平衡D .倾斜

  • 查看答案
  • 计算题:气压计的读数为2.7×105Pa,当时的大气压力为755mm

    [问答题] 计算题:气压计的读数为2.7×105Pa,当时的大气压力为755mmHg,试求气体的绝对压力是多少?

  • 查看答案
  • 在铣床上用压板夹紧工件时,为增大夹紧力,可将螺栓()。

    [填空题] 在铣床上用压板夹紧工件时,为增大夹紧力,可将螺栓()。

  • 查看答案
  • 在图示的夹紧系统中,已知定位压力要求为10×105Pa,夹紧力要求为