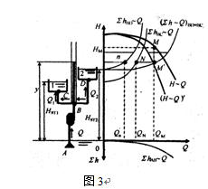
一台水泵同时向两个水塔供水(如图3所示,当y>HST2时,水泵同时向两个水塔供水时),图中已给出供水工况点,水泵的出水量为Q=QM,请在图中找出进入水塔1和进入水塔2的流量,即Q1=?Q2=?)。()

A . Ql=Qn,Q2=QN
B . Q1=Q,Q2=QN
C . Ql=QN,Q2=Qn
D . Q1=QM,Q2=QNA.Ql=Qn,Q2=QN
[单选题]当管网末端设水塔时,必须由二级泵站和水塔同时向管网供水的是( )用水量。A.最高日B.最高日最高时C.最高日平均时D.平均日
[判断题] 一台局扇可以同时向两个掘进工作面供风。()A . 正确B . 错误
[问答题] 一台局扇是否可以同时向两个掘进工作面供风?
[填空题] 一台以上的水泵对称分布,同时向一个压出管路输水,称为()。
[单选题]如图2所示,如果有三台同型号水泵并联工作,当供水量为QA时(Q1
[单选题]如图2所示,如果有三台同型号水泵并联工作,当供水量为QA时(Q1
[填空题] 当消防主泵未作动作时,采用水泵结合器供水,每启动一个水泵结合器一般可以同时启用()个消火栓。
[问答题] 某泵站,夏季为一台泵往压力密闭水箱供水,HST=4m,水泵叶轮直径为D2,管路总阻力系数S=225。到了冬季可减少12%供水量,为了节电,拟切削叶轮,试用图解法求切削率。
[问答题] 一台水泵与一高位水池甲,向高位水池乙供水,求水泵及高位水池甲各自的出水量?
[判断题] 《煤矿安全规程》规定,不得使用一台局扇同时向两个作业的掘进工作面供风。A . 正确B . 错误